CN0365
详情介绍
概览
产品详情
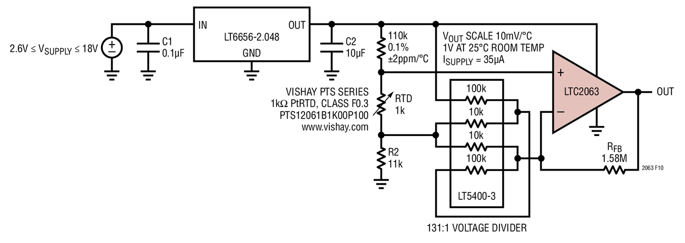
这款低功率铂电阻温度检测器 (RTD) 传感器电路在采用一个 2.6V (最小值) 电源轨供电时仅吸收 35μA 的总电源电流,而且在室温条件下具有 ±1°C 以内的准确度 (包括 Vishay PTS Class F0.3 Variant RTD 固有的全部误差)。它涵盖了 –40°C 至 85°C (增量为 10mV/°C) 的温度范围,并在 25°C 标称室温条件下产生一个 1V 输出。
LTC2063 的极低典型失调电压 (1μV) 和典型输入偏置电流 (3pA) 允许在 RTD 中使用非常低的激励电流。于是,自发热可忽略不计,从而改善了测温准确度。
LT5400-3 (B 级) 用于提供一个 ±0.025% 匹配准确度电阻器网络,该网络实际上是一个精准的 131:1 分压器。此精准的分压器形成了一个桥式电路的一半,0.1% 110kΩ 电阻器和 RTD 则在另一个支路中。请注意,110kΩ 电阻器的精准度要求旨在确保与 RTD 的匹配。11kΩ 电阻器 R2 用于为整个电桥提供一个 DC 偏移,以使输出在室温条件下为 1V。由于电桥失衡会导致误差,因此建议尽量缩短连接 RTD 的引线长度,以减小额外的引线电阻。
LT6656-2.048 基准可帮助在每种工作温度下在 RTD 中产生一个已知激励电流,而且还充当 LTC2063 的一个电源,同时自身所用的电流小于 1μA。LT6656 能接受介于 2.6V 和 18V 之间的输入电压,因而在选择电源电压的过程中提供了灵活性,并且保持了一个固定的输出范围。由于 LTC2063 具有 2μA 的最大电源电流并能够处理 RTD 在低激励电流条件下产生的 μV 级信号,因此 LT6656 基准可容易地供应运行整个电路所需要的 35μA 电流。
应谨慎地通过避免两个运放输入之间出现显著的热梯度以最大限度地抑制热电偶效应。另外,应选择具有低温度系数的反馈和串联电阻器,以尽量减少由于整个温度范围内的漂移所引起的误差,这一点也是很重要。LTC2063 是一款单通道低功率、零漂移、20kHz 放大器。LTC2063 可在极低的功率级别实现高分辨率测量。
工具及仿真模型
LTspice
LTspice® is a powerful, fast and free simulation software, schematic capture and waveform viewer with enhancements and models for improving the simulation of analog circuits.
To launch ready-to-run LTspice demonstration circuits for this part:
Step 1: Download and install LTspice on your computer.
Step 2: Click on the link in the section below to download a demonstration circuit.
Step 3: If LTspice does not automatically open after clicking the link below, you can instead run the simulation by right clicking on the link and selecting “Save Target As.” After saving the file to your computer, start LTspice and open the demonstration circuit by selecting ‘Open’ from the ‘File’ menu.


