Terasic DE1-SoC Development Kit
详情介绍
概览
设计资源
评估硬件
产品型号带"Z"表示符合RoHS标准。评估此电路需要下列选中的电路板
- EVAL-CN0198-SDPZ ($219.00) 5 V Regulator Supplies High Transient Current for Dynamic Power Controlled DAC
- EVAL-SDP-CB1Z ($99.00) Eval Control Board
驱动/参考代码
Software such as C code and/or FPGA code, used to communicate with component's digital interface.
优势和特点
- 四通道16位4mA至20mA电压输出DAC
- 动态功率控制
- 外部5V稳压器
电路功能与优势
图1中的电路可为基于数模转换器的4 mA至20 mA输出电路提供独特的节能解决方案。为了能对10 Ω和1000 Ω之间的典型阻性负载提供足够的裕量,传统的4 mA至20 mA输出驱动器级必须至少能在20 V(加上一些额外裕量)的电压下工作,以便提供足够的电压,驱动高数值的阻性负载。然而,对于低数值的阻性负载,固定的高电源电压值会导致极高的内部功耗,不仅影响DAC精度,更需采用额外的散热手段。
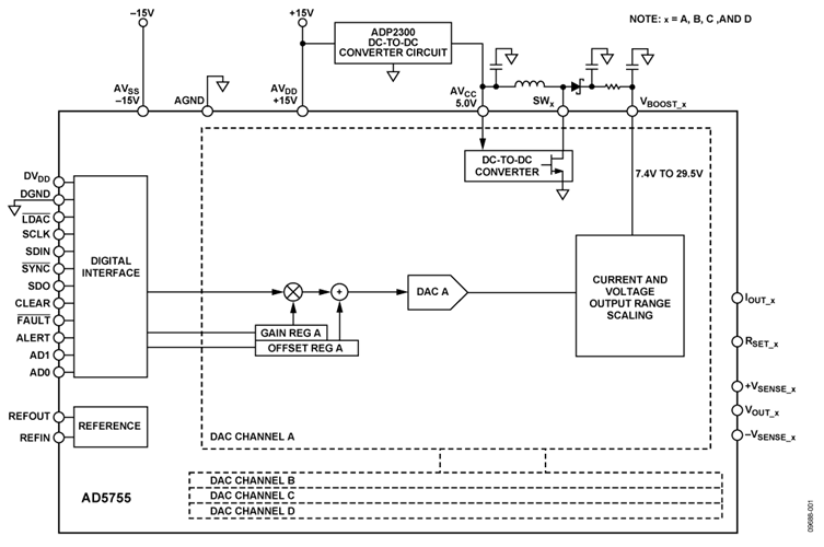
四通道、16位DACAD5755集成4个独立的高效内部DC-DC转换器,能够根据4 mA至20 mA驱动器的实际输出电压检测值,以动态可调节的升压驱动4个输出级。无论负载电阻多大,升压电路都可在输出级保持数伏的裕量;对于输入10 Omega;负载的24 mA输出电流而言,可降低大约4倍的最大内部功耗。
内部DC-DC转换器需要一个外部5 V电源供电,当DAC以满量程压摆率输出时,转换器将消耗大量电流。基于ADP2300的高效率外部DC-DC转换器电路采用15 V电源驱动,并提供5V电压输出。ADP2300具有针对高达800 mA大电流阶跃的出色瞬态响应性能,可确保升压转换器的正常工作,而无需使用5 V独立电源。
整个电路采用±15 V电源供电,允许DAC提供范围涵盖工业信号电平的最高±10 V电压输出以及4 mA至20 mA的电流输出。本器件组合是一款低成本、高能效解决方案,最大程度减少了所需的外部器件数目,并保证各种负载条件下的16位性能。
 
 
 
     电路描述
本电路增强AD5755器件对压摆率和动态电源的控制特性,建立了更为完整和稳定的DAC解决方案。利用ADP2300部署简易降压DC-DC转换器,本电路可提供高于普通电流值的电源电流,当压摆率控制AD5755的输出时,这种功能得以应用。
AD5755工作性能与任何将数字数据转换为模拟电流的标准DAC相似(例如, 0 mA 至20 mA, 4 mA 至24 mA, 或 0 mA 至 24 mA),或与任何将数字数据转换为电压输出的标准DAC相似(例如,0 V至5 V、0 V至10 V、±5 V或±10 V)。AD5755采用SS扩展至−26.4 V和AVDD扩展至+33.0 V的电源供电。
功耗控制
在标准电流控制模块或执行器设计中,负载电阻值典型范围为50 Ω至750 Ω,但也可低至10 Ω,或高达1 kΩ。在整个负载电阻值范围内,必须采用可提供足够裕量的电源电压,为4 mA至20 mA输出驱动器级供电。例如,当驱动24 mA至1 kΩ负载时,要求使用高于27 V的电源电压,此时假定需要具有3 V的裕量。本例中由输出驱动器产生的内部封装功耗为3 V × 24 mA = 72 mW。然而,当使用同样的27 V电源电压驱动10 Ω负载时,驱动器的内部功耗约为27 V × 24 mA= 648 mW。对于四通道DAC而言,这表示总功耗大于2.5 W。
AD5755电路对输出电压进行检测,并动态调节升压电源电压,使其满足电源电压要求的同时留有足够的裕量。对于将24 mA输出驱动至10 Ω而言,7.4 V的升压电压产生的内部功耗仅为7.4 V × 24 mA = 178 mW。这表示与不进行调节的情况相比,功耗降低了将近4倍。
通过4个工作在5 V输入电压下的独立DC-DC转换器,可单独为所有4个DAC输出产生升压电源电压。
DC-DC转换器
AD5755集成4个独立的板载DC-DC转换器,为每个独立通道提供针对VBOOST_X 电源电压的动态控制。图2所示为该DC-DC电路需要的分立式元件,以下各节将介绍该电路的工作原理。
 
 
建议在 CDCDC之后放置一个10 Ω、100 nF低通RC滤波器。虽然该器件会消耗少量电能,但会减少VBOOST_X 电源上的纹波。推荐的 LDCDC, CDCDC和DDCDC 器件值见表1。
 Table1. Discrete Components for DC to DC Converter
 
 
| Symbol | Components | Value | Manufactueer | 
| LDCDC | XAL4040-103 | 10 μH | Coilcraft | 
| CDCDC | GRM32ER71H475KA88L | 4.7μF | Murata | 
| DDCDC | PMEG3010BEA | 0.38VF | NXP | 
DC-DC转换器工作原理
片上DC-DC转换器采用一种恒频、峰值电流模式控制方案,以将4.5 V至5.5 V的AVCC 输入升压,从而驱动AD5755输出通道。这些器件设计用于工作电流断续模式(DCM),占空比小于90%(典型值)。
断续导通模式是一种工作模式,其中电感电流在较大比例的开关周期内为零。DC-DC转换器属于异步器件,要求采用外部肖特基二极管。
DC-DC转换器输出电压
启用通道电流输出时,转换器将VBOOST_X 电源调节至7.4 V (±5%)或(IOUT × RLOAD + 裕量)(取较大值)。电压裕量值约为3 V。在电压输出模式下,若输出被禁用,转换器将把VBOOST_X电源调节至+15 V (±5%)。在电流输出模式下,若输出被禁用,转换器将把BOOST_X 电源调节至7.4 V (±5%)。
在通道内部, VOUT_X级和OUT_X级共用一个BOOST_X电源,因此OUT_X和VOUT_X级的输出可以连在一起。
DC-DC转换器建立时间
在电流输出模式下,步长大于约1 V (IOUT × RLOAD) )的建立时间将以DC-DC转换器的建立时间为主。当IOUT_X引脚需要的电压与顺从电压之和低于7.4 V (±5%)时除外。负载越小,建立时间越快。当电流步长小于24mA时,建立时间也会更快。
DC-DC转换器VMAXX功能
最大 VBOOST_X电压在DC-DC控制寄存器中设置。达到该最大电压时,DC-DC转换器被禁用,VBOOST_X电压则下降约0.4 V。当VBOOST_X电压下降时,DC-DC转换器被重新启用,电压斜坡再次升到VMAX, (若仍有必要)。
 
 
 
     
从图3可以看出,当AD5755上升到VMAX 值时,状态寄存器中的DC-DCx位置位,但当电压下降到VMAX − 0.4 V时,DC-DCx位解除置位。
AVCC电源静态电流要求
DC-DC转换器设计用于提供此数值的VBOOST_X电压:VBOOST = IOUT × RLOAD + Headroom
这意味着,对于固定负载和输出电压,DC-DC转换器的输出电流可以通过下式计算:

其中:
I OUT is the output current from I OUT_X in amps.
ηV BOOST is the efficiency at V BOOST_X as a fraction.
AVCC电源的压摆电流要求
在压摆期间,AICC 的电流要求大于静态工作模式,这是因为输出功率会增大,以便给DC-DC转换器的输出电容充电。如果无法提供足够的AICC电流,AVCC电压会下降。受AVCC 下降影响,压摆所需的AICC 电流会进一步增加。这意味着 AVCC 端的电压会继续下降,VBOOST_X电压以及输出电压可能永远无法达到目标值。由于该AVCC 电压为所有通道共用,所以这也可能会影响其他通道。.
ADP2300 AVCC 电源
ADP2300和某些分立元件用于创建简单的5 V电轨,满足AD5755如前所述的电源电流要求。通过输出电压与FB引脚之间的一个电阻分压器(见图4),可从外部设置输出电压。
 
 
       
测试数据与结果
所有测试数据均来自EVAL-AD5755SDZ, EVAL-SDP-CB1Z, 和 ADP2300-EVALZ板。使用使用ADP2300的系统积分非线性(INL)、差分非线性(DNL)和总非调整误差(TUE)分别见图5、图6和图7。AD5755升压调节器在所有测量过程中均处于工作状态。
该系统的完整文档位于CN0198设计支持包中。
 
 
 
      
 
 
 
      
 
 
 
      电路评估与测试
本电路使用EVAL-AD5755SDZ电路板和EVAL-SDP-CB1Z系统演示平台(SDP)评估板。这两片板具有120引脚的对接连接器,可以快速完成设置并评估电路性能。
EVAL-AD5755SDZ电路板包含待评估的电路,且SDP评估板与AD5755评估软件一起使用,可获取数据。
 
 
 
设备要求
 
 需要以下设备:
 
 
- 带USB端口和Windows® XP、Windows Vista®(32位)或Windows 7(32位)PC
- EVAL-AD5755SDZ电路板
- EVAL-SDP-CB1Z SDP评估板
- ADP2300-EVALZ评估板
- AD5755评估软件
- 电源:±15 V
- 数字万用表(即Agilent 34401A)
- GPIB转USB电缆(仅在捕捉DAC模拟数据并将其传送到PC时才需要)
将AD5755评估软件光盘放入PC中,加载评估软件。打开我的电脑,找到包含评估软件光盘的驱动器,打开 Readme文件。按照Readme文件中的说明安装和使用评估软件。
Getting Started
Load the evaluation software by placing the AD5755 Evaluation Software CD into the PC. Using My Computer, locate the drive that contains the evaluation software CD and open the Readme file. Follow the instructions contained in the Readme file for installing and using the evaluation software.
功能框图
测试设置框图见图8,电路原理图见 EVAL-CN0198-SDPZ-SCH-RevX.pdf 文件。此文件位于 CN0198设计支持包中。
 
 
       
设置
将EVAL-AD5755SDZ上的120引脚连接器连接到EVAL-SDP-CB1Z.上的CONA连接器。使用尼龙五金配件,通过120引脚连接器两端的孔牢牢固定这两片板。
在关断电源的情况下,执行下列操作:
 
 
- 将±15 V电源连接至EVAL-AD5755SDZ的J5端子板。
- 将15 V电源连接至ADP2300-EVALZ的输入端。
- 将输出引脚连接至EVAL-AD5755SDZ的J6连接器。
- 将±15 V电源连接至EVAL-AD5755SDZ的J5连接器。
- SDP板附带的USB电缆连接到PC上的USB端口。注意:此时请勿将该USB电缆连接到SDP板上的微型USB连接器。
 
 
 
测试
 
 
为ADP2300-EVALZ和EVAL-AD5755SDZ电源供电。
通过USB电缆将PC连接到SDP板上的微型USB连接器,并启动评估软件。
一旦USB通信建立,就可以使用SDP板来发送和接收来自EVAL-AD5755SDZ的数据。
有关EVAL-SDP-CB1Z的信息,请参阅 SDP用户指南。
有关测试设置以及如何使用评估软件来捕捉数据的详细信息,请参阅 CN-0198 用户指南。
 
 
 
      




