两个 LTM8056 并联和同步以从 7Vin ~ 58Vin 至 18Vout @ 8A
详情介绍
概览
设计资源
评估硬件
产品型号带"Z"表示符合RoHS标准。评估此电路需要下列选中的电路板
- EVAL-CFTL-6V-PWRZ ($17.00) Wall Power Supply for Eval Board
- EVAL-CN0272-SDPZ ($100.00) 2 MHz Bandwidth PIN Photodiode Preamp with Dark Current Compensation
- EVAL-SDP-CB1Z ($99.00) Eval Control Board
优势和特点
- 高速光电二极管信号调理电路
- 91dB动态范围,电路功耗仅40 mA
- 暗电流补偿
- 频谱范围从400nm至1050nm
- 非常适合便携式高速应用
电路功能与优势
 
 
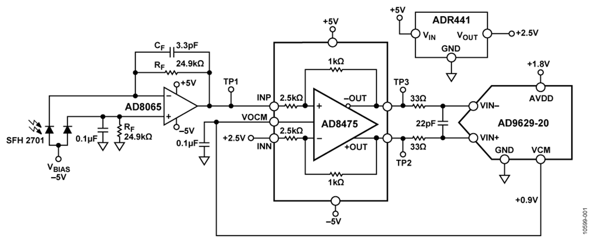
     图1. 具有暗电流补偿功能的光电二极管前置放大器系统(原理示意图:未显示所有连接和去耦)
本电路还适合其它应用,如模拟光隔离器。它还能满足需 要更高带宽和更低分辨率的应用,如自适应速度控制系 统。
本电路笔记讨论图1中所示电路的优化设计步骤,以满足 特定带宽应用的要求,这些步骤包括:稳定性计算、噪声 分析和器件选择考虑因素。
电路描述
光电二极管属于高阻抗传感器,用于检测光的强度。它没有内部增益,但相比其它光检测器,可在更高的光级度下工作。
光电二极管工作时采用零偏置(光伏)模式或反向偏置(光 导)模式。光伏模式可获得最精确的线性运算,而让二极管 工作在光导模式可实现更高的开关速度,但代价是降低线 性度。在反向偏置条件下,存在少量的电流(称为暗电 流),它们甚至在没有光照度的情况下也会流动。可在运算 放大器的同相输入端使用第二个同类光电二极管消除暗电 流误差,如图1所示。
有三个因素影响光电二极管的响应时间:
 
 
- 处于光电二极管耗尽区域内载波的充电采集时间
- 处于光电二极管未耗尽区域内载波的充电采集时间
- 二极管电路组合的RC时间常数
由于结电容取决于光电二极管的扩散区以及施加的反向偏 置,采用扩散区较小的光电二极管并施加较大的反向偏置 即可获得更快的上升时间。在CN0272电路笔记中,采用 SFH 2701 PIN光电二极管,其结电容典型值为3 pF,0 V偏 置下的最大值为5 pF。1 V反向偏置时的典型电容为2 pF,5 V 反向偏置时为1.7 pF。本电路的测量均在5 V反向偏置下进 行。
 
 
     图2显示了一个电流电压转换器和一个光电二极管的电气 模型,其基本传递函数为:
 
 
 
 
     其中,IPHOTO为光电二极管的输出电流, RF 和CF 的并联组合 设置信号带宽。理想情况下,光电二极管的全部输出电流 均通过 RF,,但由于所有运算放大器都存在输入偏置电流, 导致其输出产生误差。最好能够将运算放大器的输入偏置 电流限制在数pA范围内,并且压低输入失调电压,以使误 差最小。AD8065 的输入偏置电流仅为2 pA,输入失调电压 仅为400 μV。
本电路设计为提供5 V满量程输出,最大光电二极管电流为 200μA。由此确定反馈电阻值:p>
 
 
     此前置放大器所能实现的稳定带宽是以下参数的函数:RF, 放大器的增益带宽积(65 MHz),以及放大器求和点的 总电容CIN对本电路而言,二极管SFH 2701 (OSRAM Opto Semiconductors GmbH)的最大电容值 CD = 5 pF。AD8065 共模输入电容为CM = 2.1 pF, 差模输入电容为CD = 4.5 pF. 因此,总输入电容为CIN = 11.6 pF.
在45°相位裕量f(45)下产生的信号带宽可以表示为:
 
 
     由于可实现的最大带宽大于所需带宽,AD8065非常适合本 应用,这多数要归功于其较大的fCR和CIN之比。
RF和CIN在放大器的环路传递函数中产生一个极点, 它可能 会导致峰化和电路不稳定(见图3)). 增加CF 可以在环路的传 递函数中创建一个零点,它能补偿上述极点的影响并降低 信号带宽。
 
 
 
 
     图3. 输入电容补偿
选定R F,则产生2 MHz带宽的C F值可以表示为:
 
 
     通过计算获得45°相位裕量所需的电容值,可确定3.3 pF电容 对于稳定系统是否足够。产生f (45)的C F值可以表示为:
 
 
     由于所需的3.3 pF高于1.1 pF的最小值,而通过增加电容值 便可增加相位裕量,因此系统稳定。
噪声分析
选定器件后,必须确定完成信号转换所需的分辨率。如同 大多数的噪声分析一样,只需考虑几个关键参数。噪声源 以RSS方式叠加;因此,只需考虑至少高于其它噪声源三 至四倍的任何单个噪声源即可。
对于光电二极管前置放大器而言,主要的输出噪声源是运 算放大器的输入电压噪声和反馈电阻噪声。FET输入运算 放大器的输入电流噪声可忽略不计。由于寄生电容具有滤 波效果,反向偏置引起的光电二极管散粒噪声可忽略不 计。
电阻噪声可根据约翰逊噪声公式计算:
 
 
 
 
     其中:
k 表示玻尔兹曼常数(1.38 × 10-23J/K)。
T 表示绝对温度(单位K)。
系数1.57将近似单极点带宽转换为等效噪声带宽。
注意,前置放大器正输入端的0.1 μF 电容可消除第二个RF 电 阻产生的高频噪声,该电阻用于抵消偏置电流的影响。
输出噪声主要源于输入电压噪声和高频噪声增益峰化,峰 化现象发生在f1 和fCR之间。若假定整个频率范围内的输出 噪声不变,并且使用了交流噪声增益的最大值,则:
 
 
 
 
     其中, VN表示放大器的输入电压噪声(7 nV/√Hz)。
折合到输出的总均方根噪声便是两个器件的RSS值:
 
 
 
 
     前置放大器的总输出动态范围可这样计算:将满量程输出 信号(5 V)除以总输出均方根噪声(67 μV rms) ,然后转化为dB, 其结果约等于97dB。
 
 
     由于放大器的噪声输出量(即能够解析出来的最大位数)可 通过将满量程输出除以均方根噪声算得:
 
 
     因此,均方根LSB的数量可转化为有效分辨率:
 
 
     从有效分辨率中减去2.7位,即可得到无噪声码分辨率
 
 
     根据最终应用的不同,13位可能远高于实际需要的分辨 率。由于目标应用无需这么高的分辨率,可以确定本系统 符合12位的设计要求。
如果LSB以电流表示的数值低于暗电流,则如前文所述, 可在运算放大器的同相输入端使用第二个同类光电二极管 消除暗电流。例如,若要求16位分辨率,则检测到的光电 流量为:
 
 
 
 
     由于流经SFH 2701的最大暗电流额定值为5 nA,则在16位 设计中就需要暗电流补偿。
本应用采用12位ADC,因此LSB值为49 nA,无需进行暗电 流补偿。
若带宽为2 MHz,则合理的设计原则是选择一个10倍或更高 采样速率的ADC。这表示,理想的ADC必须具有12位分辨 率,采样速率必须达到20 MSPS。
AD9629-20 是一款20 MSPS、12位分辨率的ADC,可作为理 想的替代产品使用。但它要求差分输入,并且5 V p-p单端 输入必须转换为2 V p-p差分信号。使用AD8475 差分漏斗放 大器可轻松满足这一要求。它能简化单端至差分转换,并 提供共模电平转换和精密衰减。
AD8475最大输出失调仅为500μV,具有10 nV/μHz的差分输 出噪声,以及−112 dB的总谐波失真加噪声(THD + N)性能。
AD8475 AD8475支持最大输出电压为2 V p-p,最高频率为10 MHz, 完全符合2 MHz的设计要求。
AD8475 的增益由 AD9629-20的模拟输入范围(2 V p-p)和AD8065的满量程输出(5 V p-p)共同决定。
 
 
     AD9629-20 通过VCM引脚提供0.9 V的片内共模电压。该引 脚以0.9 V共模电压驱动AD8475 的VOCM引脚。
重要的是,必须考虑本系统中AD8475 的噪声贡献。首先, 将AD8065 (67 μV rms)的输出噪声乘以AD8475的增益,即可 算出AD8065的噪声贡献。
 
 
     AD8475的输出噪声可这样计算:将输出噪声密度(10nV/μ Hz)乘以带宽的平方根(通过输出滤波器设置)。
 
 
 
 
     经滤波处理后的AD8475输出噪声=
 
 
     把AD8475 经滤波后的输出端总噪声可利用两个器件的RSS值 计算:
 
 
     把AD8475的噪声贡献计算在内,便可确定进行解析所需的 位数,还能进行总动态范围的计算。
 
 
     测试结果
使用一个激光二极管驱动D1光电二极管,并产生电流。光 电二极管D2用于暗电流补偿,其覆有光学不透明环氧树脂 (EPO-TEK® 320)材料,当D1受到激励时,可防止D2产生输 出电流。
通过迫使光电二极管驱动一个高于预期的电流,AD8065的 近似最大上升和下降时间达到72 ns(见图4)。
 
 
 
 
     通过改变激光二极管的位置,使其不再对光电二极管过驱 至超过200μA,便可测得更实用的系统上升和下降时间。
 图5显示AD8065的上升和下降测量值分别为282 ns和290 ns。 需注意,由于存在足够的相位裕量,在两种测试用例中分 别关闭激光二极管后,均不存在振铃。
 
 
 
  
     图5.激光二极管的脉冲响应
既然已经测试了系统对亮光脉冲的响应,那么系统对光强 高速变化的响应亦可测得。利用Agilent 33250A函数发生器 以2 MHz的正弦波驱动激光二极管。图6显示 AD8065 可正确检测较小的光强变化,图7显示 CN0272 评估软件 正 确获取AD9629-20 ADC的转换数据,并以图形方式显示的 屏幕截图。
 
  
     图6. 使用可变光源的AD8065输出
 
  
     图7. CN0272评估软件对2 MHz可变光源进行数字化处理的屏幕截图
有关本电路笔记的完整设计支持包,请参阅 http://www.analog.com/CN0272-DesignSupport。
脉搏血氧仪中的应用
脉搏血氧仪是一种医疗设备,用于连续测量氧饱和血红蛋白(Hgb)的百分比和病人的脉搏数。携氧血红蛋白(氧合血红蛋白)吸收红外光谱区(940 nm)中的光,未携氧的血红蛋白(脱氧血红蛋白)则吸收可见红光(650 nm) 。通过计算这两个光强之比,便可得到体内氧气含量的百分比。
在脉搏血氧仪中,两个LED(一个发出红光,另一个发出红外光)受到两个电流源快速并有顺序的激励,并用一个光电二极管检测LED的光强。图1中的电路可与LED吸电流电路同步(如CN-0125),以便捕捉透过组织传递的每个LED发出的光。
常见变化
其它适用的双电源放大器包括 ADA4817-1 和 ADA4637-1。若需采用单电源工作,则建议使用 AD8605 或 AD8615 这 些放大器的输入偏置电流都不超过2 pA,输入失调电压不 超过400μV,并且单位增益带宽积超过10 MHz。
对于需要100 MHz及以上带宽的应用(如自适应速度控制),建 议采用下列器件组合:ADA4817-1 FastFET放大器、 ADA4932-1低功耗差分ADC驱动器和 AD9634-210 12位、210 MSPS ADC。
ADA4817-1 具有400 MHz的高增益带宽积和1.4 pF的极低输 入电容。这些特性使得这款放大器成为宽带跨导应用的理 想选择。
ADA4932-1 驱动器能以最高360 MHz的频率保持2 V p-p输 出,这对于 AD9634-210ADC而言足够了。
电路评估与测试
设备要求
需要以下设备:
带USB端口的Windows® XP(32位)、Windows Vista®或 Windows® 7 PC
EVAL-CN0272-SDPZ 电路板
EVAL-SDP-CB1ZSDP-B转接板
CN0272 SDP评估软件
EVAL-CFTL-6V-PWRZ直流电源或同等6 V/1 A台式电源
400 nm至1050 nm光源
开始使用
将CN0272评估软件光盘放进PC的光盘驱动器,加载评估 软件。打开我的电脑 ,找到包含评估软件的驱动器。
功能框图
电路框图见图1,完整的电路原理图见EVAL-CN0272- SDPZ-PADSSchematic-RevC.pdf 文件。此文件位于 CN0272设计支持包中。
 
 
        图8. 测试设置框图
 
 设置
 
 EVAL-CN0272-SDPZ电路板上的120引脚连接器连接到 EVAL-SDP-CB1Z转接板(SDP-B)上的CON A连接器。使用尼 龙五金配件,通过120引脚连接器两端的孔牢牢固定这两 片板。在断电情况下,将一个6 V电源连接到电路板上的+6 V 和GND引脚。如果有6 V壁式电源适配器,可将其连接到板 上的管式连接器,代替6 V电源。SDP-B板附带的USB电缆连 接到PC上的USB端口。此时请勿将该USB电缆连接到 SDP-B板上的微型USB连接器。
 
 测试
 为连接到 EVAL-CN0272-SDPZ电路板的6 V电源(或“壁式电源 适配器”)通电。启动评估软件,并通过USB电缆将PC连接 到SDP-B板上的微型USB连接器。
 
 一旦建立USB通信,就可以使用SDP-B板来发送、接收、 捕捉来自 EVAL-CN0272-SDPZ板的并行数据。
 
 图9显示 EVAL-CN0272-SDPZ 评估板连接SDP板的照片。有 关SDP-B板的信息,请参阅 EVAL-CN0272-SDPZ SDP-B用户指南。
 
 注意,光电二极管D2用于暗电流补偿,其覆有光学不透明 环氧树脂(EPO-TEK 320)材料,当D1受到激励时,可防止D2 产生输出电流。
 
 有关测试设置、校准以及如何使用评估软件来捕捉数据的 详细信息,请参阅 CN-0272软件用户指南。 
 
 
       图9. 连接到EVAL-SDP-CB1ZSDP-B板的EVAL-CN0272-SDPZ评估板
针对原型开发的连接
EVAL-CN0272-SDPZ 评估板设计用于 EVAL-SDP-CB1Z SDP-B板,但任何微处理器都可与AD9629-20的并行外设接口(PPI)实现对接。为使另一个控制器能与 EVAL-CN0272-SDPZ 评估板一同使用,第三方必须开发相应的软件。
目前已有一些转接板能实现与 Altera 或 Xilinx 现场可编程门 阵列 (FPGAs) 的接口。利用 Nios 驱动器, Altera 的 BeMicro SDK 板能配合 BeMicro SDK/SDP 转接板一同使用。任何集成 FMC 连接器的 Xilinx 评估板均可与 FMC-SDP 转接板一同使 用。
讨论
- 加入我的myAnalog 登录 myAnalog




