LTM8058 2kV 隔离型 12V μModule 反激式转换器具低噪声旁路
详情介绍
概览
电路描述
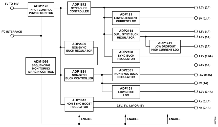
该电路的功能框图如图1所示。各部分的完整原理图,请参阅 CN0190 设计支持包。此模块不仅可以提供数字和模拟电路所需的大多数典型供电轨,而且还展示了一种实现过压、欠压和过流检测和保护的简单方式。另外,此模式演示了如何实现时序和电源余量微调控制。
该电路设计非常灵活,并具有6 V至14 V的宽输入电压范围。这一切之所以成为可能,是因为各供电轨第一级中采用的高效开关控制器和调节器具有相应的宽输入范围。ADM1178模块为输入电源提供过压和过流检测与保护,并为整个系统提供热插拔控制。ADM1066提供一种单芯片解决方案,不仅可实现所有12个供电轨的电源监控与时序控制,而且还可以实现3.3V(2A)供电轨的余量微调控制。

 
图2:模块输入保护电路
输入保护电路描述
图2所示电路为模块提供输入保护,详情将在下文介绍。
输入电压极性反转保护
  输入电压反相保护由P沟道MOSFET (Q1)提供。在采用正输入电压的正常工作模式下,当SYSTEM_POWERIN和SYS_GND之间的电压为正值且大于栅极-源极阈值电压时,Q1 (SI7461DP)接通。如果输入电压为负值(极性反转的故障条件),Q1将断开以防止主电路损坏,其功能类似于二极管。
由于输入电流较高(高达6.67 A),而且MOSFET的低导通电阻可以最大程度地降低功耗,因此P沟道MOSFET要明显优于二极管。例如,当VGS等于−4.5 V时,SI7461DP的导通电阻约为0.02 Ω。电流为6.67 A时,功耗仅为0.9 W。而相同电流下,正向压降为0.6 V的二极管功耗约为4 W。SI7461DP的最大VGS 为±20,可覆盖模块6 V至14 V的输入范围。注意,Q1的栅极偏置电压由分压器R4-R5的输出提供,使得Q1可以承受输入电压变化。
过流检测与保护
  设计采用热插拔控制器/数字电源监控器 ADM1178 来检测输入电流,从而测量15 mΩ电流检测电阻R2上出现的压降。通过调制N沟道MOSFET (Q2)的栅极电压,ADM1178内部FET驱动控制器可以调节最大负载电流。当检测电阻上的电压超过100 mV时,栅极驱动电压限制流过Q2的电流,从而保护下游电路。
过压和欠压检测与保护
  ADCMP670-1是一款双通道、低功耗、高精度比较器,内置400 mV基准电压源。两个比较器和外部MOSFET(Q4和Q5)均配置为窗口比较器。低电压阈值和高电压阈值(5.54 V和14.35 V)分别由分压器R10–R11和R12–R13设定。如果输入电压在高侧位于窗口之外,VOUTA变为高电平,同时Q5接通,而AD1178的ON引脚被拉低,从而关断Q2。类似地,如果输入电压在低侧位于窗口之外,VOUTA变为高电平,同时Q4接通,而AD1178的ON引脚被拉低,从而关断Q2。
过流、欠压和过压计算总结
过流阈值 = 100 mV ÷ 15 mΩ = 6.67 A
电流检测电阻的功率 = 100 mV × 6.67 A = 0.667 W (use 0.75 W resistor)
高电压阈值 = 0.4 V(R10 + R11)/R11 = 14.35 V
低电压阈值 = 0.4 V(R12 + R13)/R11 = 5.54 V
IC保护技术
此外还有与各电源IC关联的几种保护功能。当输入电压低于上电期间供电轨以可预测方式工作所需的最低电压时,欠压闭锁(UVLO)可以禁用所有输入和IC的输出。热关断(TSD)可以防止IC因高工作结温而发生损坏。过流保护(OCP)还可以在输出端发生短路时保护IC。详情参见各电源IC的数据手册。
通用电源模块中的供电轨描述
此模块提供12个供电轨,具体如表1所示。以下四个供电轨基于同步降压拓扑结构:3.3V(2A)、1.5V(1A)、1.8V(1A)和1.2V(0.5A)。以下两个供电轨基于异步降压拓扑结构:5.0V(1A)和2.5V(1A)。−5 V供电轨由+5.0V(1A)供电轨采用反相降压/升压拓扑结构产生。正负模拟供电轨{Px,Nx}(0.1A)由Sepic-Cuk拓扑结构产生。最后三个供电轨由LDO提供。每个供电轨都具有独立的上电LED指示灯。表1列出了各个供电轨的电压、最大电流能力、电源IC重要特性和典型应用。
表1. 通用电源模块的供电轨一览
| 输出电压 | 电流 | 电源IC  
           电源 
            
           IC 
            
           电源 
            
           IC电源IC 
            
           电源 
            
           IC 
            
           电源 
            
           IC 
            
           电源 
            
           IC 
           | 电源IC概述 | 典型应用 | 
| 3.3V | 2A | ADP1827 | ADP1872是一款多功能电流模式同步降压型控制器,采用恒定导通时间、伪固定频率及可编程电流检测增益、电流控制方案,具备出色的瞬态响应、最佳稳定性和限流保护特性。 | 通用数字电路、I/O电压 | 
| 5.0V | 1A | ADP1864 | ADP1864是一款紧凑型、价格低廉、恒定频率、电流模式、降压DC/DC控制器。该器件驱动P沟道MOSFET,后者可以采用高达14 V的输入电压和5 A的负载电流工作,并能够以±1.25%的精度将输出电压调低至0.8 V。该器件以100%占空比工作,可提供低压差性能。 | |
| 1.5V | 1A | ADP2114 | ADP2114是一款多功能、双通道、同步降压开关调节器,可满足各种客户负载点要求。两个PWM通道既可配置为分别提供2 A和2 A(或3 A/1 A)电流的两路独立输出,也可配置为提供4 A电流的单路交错式输出。为降低输入纹波电流和输入电容,两个PWM通道的相位偏移180°。 | MCU、DSP或FPGA的内核电压 | 
| 1.8V | 1A | |||
| 2.5V | 1A | ADP2300 | ADP2300是一款紧凑型、恒定频率、电流模式、降压型DC/DC调节器,集成功率MOSFET, 采用3.0 V至20 V输入电压工作,适合各种应用。 | |
| 1.2V | 0.5A | ADP2108 | ADP2108是一款高效率、低静态电流、降压型DC/DC转换器。整个解决方案仅需三个小型外部元件。它采用专有高速电流模式、恒频PWM控制方案,具有出色的稳定性和瞬态响应。以100%占空比工作,可提供低压差性能。 | |
| 1.0V | 2A | ADP1741 | ADP1741是一款低压差(LDO) CMOS线性调节器,工作电压范围为1.6 V至3.6 V,能够提供高达2A的输出电流。 | |
| Px | 0.1A | ADP1613 | ADP1613是一款升压DC/DC开关转换器,集成电源开关,能够提供高达20 V的输出电压。 | 模拟或混合信号系统,如ADC、DAC、放大器、模拟多路复用器 | 
| Nx | 0.1A | |||
| 3.3V | 0.15A | ADP151 | ADP151是一款超低噪声(9 μV)、低压差线性调节器,采用2.2 V至5.5 V电源供电,最大输出电流为200 mA。 | |
| 3V | 0.1A | ADP121 | ADP121是一款低静态电流、低压差线性调节器,采用2.3 V至5.5 V电源供电,最大输出电流为150 mA。 | |
| -5V | 0.2A | ADP2301 | ADP2301是一款紧凑型、恒定频率、电流模式、降压型DC/DC调节器,集成功率MOSFET,采用3.0 V至20 V输入电压工作,适合各种应用。 | 
低压差线性调节器(LDO)一般要比开关电源更易使用,并且噪声更低,瞬变响应特性更佳。不过,当输出电压远远低于输入电压时,其效率很低,这就限制了其电流输出能力。
开关电源具有高效率和高电流输出,因此通常是电源系统第一级的最佳选择。通过合理设计控制环路并采用良好的PCB布局技术,可以最大程度地减少开关电源造成的噪声。如果设计时注意一些,开关电源通常可用于给以下电路笔记中所述的高性能模拟电路供电:CN-0135、 CN-0137、CN-0141和CN-0193
表2. ADIsimPower的开关转换器设计参数输入
 
| VOUT | VIN(MIN) | VIN(MAX) | IOUT(MAX) | IRIPPLE | VRIPPLE | ISTEP | VSTEP | 
| 3.3V(2A) | 6V | 14V | 4A | 33% IOUT(MAX) | 1% VOUT | 80% IOUT(MAX) | 5% VOUT | 
| 5.0V(1A) | 6V | 14V | 2A | 33% IOUT(MAX) | 1% VOUT | 75% IOUT(MAX) | 5% VOUT | 
| 2.5V(1A) | 6V | 14V | 1A | 33% IOUT(MAX) | 1% VOUT | 80% IOUT(MAX) | 5% VOUT | 
| {Px,Nx}(0.1A) | 6V | 14V | 0.1A | 33% IOUT(MAX) | 1% VOUT | 70% IOUT(MAX) | 5% VOUT | 
| 1.8V(1A) | 3.2V | 3.4V | 3A | 33% IOUT(MAX) | 1% VOUT | 90% IOUT(MAX) | 5% VOUT | 
| 1.5V(1A) | 3.2V | 3.4V | 1A | 33% IOUT(MAX) | 1% VOUT | 90% IOUT(MAX) | 5% VOUT | 
| 1.2V(0.5A) | 3.2V | 3.4V | 0.5A | 33% IOUT(MAX) | 1% VOUT | 90% IOUT(MAX) | 3% VOUT | 
使用ADIsimPower设计单个开关电源
ADIsimPower是一款交互式设计工具,不仅可简化电源IC选择过程,而且还可提供构建最佳线性或DC/DC转换器所需的信息。该工具可执行所有繁琐计算,并可提供最终原理图、推荐物料清单和预测性能。推荐元件均来自大型器件数据库,其中器件均具有已知的电气特性。用户只需向该程序提供系统级输入,如表2中所示的最小输入电压、最大输入电压、输出电压、输出电流、输出电流纹波、输出电压纹波和瞬态响应等。
在这款基于开关控制器和调节器的电源模块中,所有供电轨都是采用ADIsimPower来设计的,不过−5V(0.2A)供电轨除外,后者采用基于反相降压/升压拓扑结构的ADP2301。
若要了解有关ADIsimPower的详细信息,请参见“ADIsimPowerM提供稳定可靠的可定制DC/DC转换器设计” 一文和www.analog.com/ADIsimPower
设计示例1:采用ADP1872的3.3V(2A)供电轨
图3所示为由ADP1872控制的同步降压拓扑结构的电路原理图。此电路可以分为三个部分。A 部分产生ADP1872的偏置电压,B部分是使能控制,而C是供电轨的开关调节器部分。
ADP1872可以在2.75 V至5.5 V的宽偏置电压范围内工作。在此电路中,偏置电压由4.7 V齐纳二极管和NPN缓冲晶体管一起提供,如图3的A部分所示。所选齐纳二极管(DDZ9687)在50 μA电流时具有4.7 V的齐纳电压。ADP1872可以接受高达20 V的输入电压。
ADP1872的引脚2 (COMP/EN) 不仅连接到内部的精密使能电路,而且还连接到内部误差放大器(控制整体环路特性)的输出端。N沟道MOSFET (Q9)用于将ADP1872的使能控制接地,从而禁用该器件。当Q9关断时,ADP1872使能,而环路特性由C11、C12和R16网络控制。Q8用作反相器,这样B部分输入端的正逻辑信号(EN_3.3V)可以使能ADP1872。
图3中C部分所示是使用ADIsimPower生成的设计,其采用表2中的输入。

 
图3:设计示例1:由基于同步降压拓扑结构的ADP1872生成的3.3V (2A)供电轨

 
图4:设计示例2:基于ADP1613控制的Sepic-Cuk拓扑结构电路的模拟{Px,Nx}(0.1A)供电轨
设计示例2:具有输出过流检测与保护的正负模拟供电轨{Px,Nx}(0.1A)
正负模拟供电轨{Px,Nx}(0.1A)均采用基于Sepic-Cuk拓扑结构的升压控制器ADP1613设计。通过更改反馈路径中的电阻值,可以将输出设置为四种不同的对称输出电压。电压可以设置为{+2.5V,−2.5V}、{+5V,−5V}、{+12V,−12V}和{+15V,−15V}。在图4所示电路中,所有元件都是基于ADIsimPower来选择。输出电容增加到10 μF,从而进一步减少模拟电源的输出纹波。另外使用一个外部LC滤波器(采用一个氧化铁磁珠和一个3T电容)来进行噪声抑制。R76和R77是添加用于过流检测的240 mΩ分流电阻,不会显著影响控制环路的特性。
过流检测电路如图5所示。ADM1170是一款具有软启动特性的热插拔控制器,在此电路中用于对正输出供电轨进行过流检测。内部过流检测电路可以接受1.6 V至16.5 V范围内的电压,包括2.5 V至15 V的{Px,Nx}输出范围。当SENSE+和SENSE−之间的电压大于50 mV(典型值)时,选通引脚接地,关断ADP1613。通过240 mΩ的分流电阻R76,过流阈值设置为208 mA(典型值)。

 
图5:{Px,Nx }(0.1A )供电轨的过流检测电路
负供电轨的过流检测电路采用高共模电压、可编程增益差动放大器 AD628和内置0.6 V基准电压源的比较器ADCMP350 。AD628是一款二级放大器,第一级是一个具有0.1固定增益的差动放大器,第二级的增益(G)可以通过外部电阻编程。过流阈值和分流电阻与正供电轨上使用的数值相同。第二级放大器的增益为G = 125,通过公式1计算求解G:
 
 
其中, ITHRESHOLD = 208 mA,而 RSHUNT = 240 mΩ。
AD628由{Px,Nx}供电轨供电,而两个供电轨在模块初始上电期间需要一定时间来完成建立。在此期间,AD628可能会因未定义电源电平而出现工作异常。为此,可以使用2 kΩ电阻R62,在{Px,Nx}供电轨达到其最终值之前拉低AD628的输出,从而防止电路进入闩锁状况。
设计示例3:采用ADP2301控制的反相降压/升压拓扑结构得到−5V(0.2A)
ADP2301 是异步降压调节器。在图6所示电路中,该器件在反相降压/升压拓扑结构中用于产生负电压。ADIsimPower中并不直接支持此电路,应用笔记AN-1083“利用开关调节器ADP2300和ADP2301设计反相降压/升压转换器”中对该电路做了详细介绍。在此拓扑结构中,ADP2301的VIN引脚和GND引脚分别连接到供电轨的输入端和输出端。其他负电压可以通过改变反馈电阻的值来产生。不过,|VIN| + |VOUT|必须小于ADP2301的最大输入电压20 V,这点非常重要。

 
图6:设计示例3:由ADP2301控制的−5V反相降压/升压拓扑结构
电源监控、时序控制和余量微调控制
电压监控
ADM1066 Super Sequencer®超级时序控制器是一款可配置器件,可针对多电源系统的电源监控和时序控制提供一种单芯片解决方案,其电路如图7所示。系统输入电源连接到ADM1066的VH。除−5V(0.2A)之外的所有供电轨经过电阻分压器衰减后,直接连接到VPx、VXx和AUXx。有关如何监控高电压或负输入的详细信息,请参见AN-780 和AN-782
ADM1066具有多达10个电源故障检测器(SFD)。输入可以配置用于检测欠压故障(输入电压降至预设值以下)、过压故障(输入电压升到预设值以上)或超出窗口故障(输入电压位于预设值范围之外)。该模块中的所有电源均采用超出窗口故障标准加以监控。各窗口的阈值设置为VOUT + 5%和VOUT − 5%。各电源的参数如表3所列。
ADM1066的10个PDO输出控制所有12个供电轨。5.0V(1A)、−5V(0.2A)和{Px,Nx}(0.1A)共享一个PDO引脚。所有其他供电轨均由单个PDO引脚控制。

 
图7:利用ADM1066实现电源时序控制、电压监控和电压余量微调控制
表3. 输出电压供电轨的过压和欠压阈值
| Power Rall | VMAX(V) | VMIN(V) | Resistor Divider | Overvoltage Threshold(V) | Undervoltage Threshold(V) | |
| VX1 | 1.0 V_2A | 1.05 | 0.95 | 1 | 1.05 | 0.95 | 
| VX2 | 1.5 V_1A | 1.575 | 1.425 | 5/6 | 1.31 | 1.19 | 
| VX3 | 1.2 V_0.5A | 1.26 | 1.14 | 1 | 1.26 | 1.14 | 
| VX4 | 3.3 V_0.1A | 3.465 | 3.135 | 5/16 | 1.08 | 0.98 | 
| VX5 | 1.8 V_1A | 1.89 | 1.71 | 11/16 | 1.30 | 1.18 | 
| VP1 | 5.0 V_1A | 5.25 | 4.75 | 1 | 5.25 | 4.75 | 
| VP2 | 3.3 V_2A | 3.465 | 3.135 | 1 | 3.465 | 3.135 | 
| VP3 | 2.5 V_1A | 2.625 | 2.375 | 1 | 2.625 | 2.375 | 
| VP4 | 3.0 V_0.1A | 3.15 | 2.85 | 1 | 3.15 | 2.85 | 
| VH | VIN | 14.20 | 5.70 | 1 | 14.20 | 5.70 | 
| AUX1 | Nx_0.1A | -2.375 | -15.75 | 1/11 | 1.65 | 0.43 | 
| AUX2 | Px_0.1A | 15.57 | 2.375 | 1/12 | 1.30 | 0.22 | 
时序控制策略
根据输出供电轨,电源路径最多可分为三级,如图1所示。3.3V(2A)、2.5V(1A)、5V(1A)和{Px,Nx}(0.1A)供电轨由输入电压直接转换,并且仅流过一级。3V(0.1)、1.5V(1A)、1.8V(1A)、1.2V(0.5A)、−5V(0.2A)和3.3V(0.1A)供电轨流过二级。1.0V(2A)供电轨流过三级。
时序和控制策略如下:
- 按顺序开启第1级、第2级和第3级,然后检查各供电轨上的电压。
- 如果一些供电轨在启动时发生故障,则关闭同一级的所有供电轨,并返回来检查上一级中的供电轨。如果上一级中的供电轨全部正常,则再次开启这一级的所有供电轨。
- 在所有供电轨成功开启之后,监控这些供电轨。如果任何供电轨发生故障,则关闭这三级中的所有供电轨,然后返回到第一步并开启第1级的供电轨。
4.0.6版ADM106x配置工具生成的状态机如图8所示。另请参见应用笔记AN-0975“利用Graphviz自动生成ADM1062至ADM1069的状态图”
状态图中使用的术语定义如下:
PSetUp:检查电源输入电压
TOnStx:开启第x级(x = 1, 2, 3)
TOffStx:关闭第x级(x = 1, 2, 3)
MoStx:监控第x级(x = 1, 2, 3)
MoAll:监控这三级中的所有供电轨
注意:二进制字格式为(PDO10, PDO9, PDO8, PDO7, PDO6, PDO5, PDO4, PDO3, PDO2, PDO1)

 
图8:电源监控与时序控制策略状态机图
3.3V(2A)电压轨的余量微调控制
ADM1066利用6个DAC来实现闭环余量微调系统,以便通过更改反馈节点,或利用DAC输出更改DC/DC转换器的基准电压来实现电源调整。DAC1通过R85、C82和R89连接到3.3V(2A)供电轨上的ADP1872反馈级。电容C82用于对PCB走线噪声去耦。R89和R85的总电阻设置为152.3 kΩ,因此允许在VOUT_3.3(2A) − 0.2 V至VOUT_3.3V(2A) + 0.2 V的范围内连续调整3.3V(2A)的输出。
开关电源和整个电源模块的测量效率
测量效率与各开关电源负载电流的函数关系如图9所示。电源模块的总体效率如图10所示,其中输入电压为10 V且输出端满载。表4总结了输入电压为6 V、10 V和14 V时的模块效率。

 
图9:开关电源的效率与输出电流之间的关系

 
图10:10V输入时满载模块的总体效率
表4. 不同输入电压下的满载电源模块效率
| VIN=6V | VIN=10V | VIN=14V | |
| Total Input Power (W) | 30.79 | 31.47 | 32.24 | 
| Total Circuit Power Loss (W) | 5.96 | 6.63 | 7.39 | 
| Total Output Power (W) | 24.83 | 24.85 | 24.86 | 
| Overall Efficiency (%) | 80.6 | 78.9 | 77.1 | 
测量输出电压纹波
纹波在所有开关模块输出端上测得。对于1.5V(1A)、ADP2114开关电源输出,典型结果如图11所示。纹波结果如表5所示。
表5. 开关调节器纹波和瞬态响应总结
| Power Rall | V<sub>IN</sub> | V<sub>RIPPLE(P-P)</sub> | I<sub>STEP</sub> | V<sub>STEP</sub> | 
| 3.3V(2A) | 10V | 26.4 mV(0.8%) | 3.2A* | 170mV(5.2%) | 
| 5.0V(1A) | 10V | 43.6 mV(0.9%) | 1.5A* | 130mV(2.6%) | 
| 2.5V(1A) | 10V | 8.2 mV(0.3%) | 0.8A | 80mV(3.2%) | 
| 1.8V(1A) | 3.3V | 7.6 mV(0.4%) | 2.7A* | 50mV(2.8%) | 
| 1.5V(1A) | 3.3V | 8.6 mV(0.6%) | 0.9A | 39mV(2.6%) | 
| 1.2V(0.5A) | 3.3V | 11.4 mV(0.9%) | 0.45A | 26mV(2.2%) | 
*这些输出还驱动模块中的其他调节器。
纹波测量高度依赖于电路布局、示波器带宽设置、探头带宽和探头连接到输出端的方式。图11所示测量结果是使用500 MHz、10倍无源探头P6139A,通过Tektronix TDS3034B 300 MHz示波器获得的。示波器和探头组合的全带宽为300 MHz。示波器具有多种内部带宽设置,可使用内部滤波器来减少有效带宽。图11所示数据采用全300 MHz带宽测得。
欲了解有关电源噪声和纹波测量的详细信息,请参见1998年ADI公司“电源和散热管理硬件设计技术”的第8章

 
图11:1.5V(1A),输出电流为0.5A时的ADP2114输出纹波(Tektronix TDS3034B示波器、P6139A探头、示波器带宽设置为300 MHz)
测量瞬态响应
FPGA、DSP以及其他数字IC通常会在电源上引入瞬态电流负载。在这些条件下,电源电压必须保持在规定范围内,这点非常重要。对于基于ADP2114的1.8V(1A)输出,典型瞬态响应如图12所示。表5总结了开关电源的瞬态响应测量结果。注意,对于3.3V(2A)、5V(1A)和1.8V(1A)供电轨,阶跃电流要高于单个供电轨输出电流,因为这些供电轨驱动多个级。

 
图12:1.8V(1A),ADP2114输出瞬态响应(Tektronix TDS3034B示波器、P6139A探头、示波器带宽设置为20 MHz)
常见变化
电路评估与测试
EVAL-CN0190-EB1Z评估板的照片如图13所示。
 
 

 
图13:EVAL-CN0190-EB1Z通用电源照片
设备要求(可以用同等设备代替)
- Tektronix TDS3034B 4通道300 MHz彩色数字荧光示波器
- Tektronix P6139A、500 MHz、8 pF、10 MΩ、10倍无源探头
- Agilent N3302A、150 W、0 A至30 A、0 V至60 V电子负载模块与N3300A相结合
- Agilent E3631A、0 V至6 V、5 A;0 V至±25 V、1 A、三路输出直流电源
- Agilent 3458A、8.5位数字万用表
- Fluke 15B数字万用表
- USB-SMBUS-CABLE Z(USB转I2C接口电视棒)或CABLE-SMBUS-3PINZ(并行端口转I2C接口电缆)
- 配有USB接口的PC(Windows 2000或Windows XP)
设置与测试
  测量供电轨效率的框图如图14所示。使用10 V直流电源给EVAL-CN0190-EB1Z上电后,将电子负载Agilent N3302A设置为在恒流模式下工作。将Agilent 3440A设置为电流表,并将Fluke 15B设置为电压表。功率输出可以通过将VOUT 与IOUT相乘而计算得出。VIN和IIN可以直接从Agilent E3631A直流电源的显示窗口读取。效率可以通过公式2计算得出:
 
 
 

 
图14:用于测量效率的测试设置
 
 纹波和瞬态响应利用图15所示的电路来测量。示波器的通道A监控该模块的输出电压。通道B监控0.1 Ω电流检测电阻上的电压,该电压与负载电流成比例。使用预设幅度和频率将电子负载设置为“开关”模式。然后便可使用示波器捕获输出动态电压和电流。
 
 

 
图15:用于测量纹波和瞬态响应的测试设置
讨论
样片申请及购买
样片
| 产品 | 描述 |  可提供样片的  | 
| ADCMP670 | 内置400 mV基准电压源的双路低功耗1.5%比较器 | ADCMP670-1YUJZ-RL7 | 
| ADM1178 | 热插拔控制器和数字电源监控器,具有ALERTB输出 | ADM1178-1ARMZ-R7 ADM1178-2ARMZ-R7 | 
| ADP1864 | Constant Frequency Current-Mode Step-Down DC-to-DC Controller in TSOT | ADP1864AUJZ-R7 | 
| ADM1066 | 内置余量微调控制功能和辅助ADC输入的Super Sequencer®超级时序控制器 | ADM1066ACPZ ADM1066ASUZ | 
| ADP1741 | 2 A、低VIN、压差CMOS线性稳压器 | ADP1741ACPZ-R7 | 
| ADP121 | 150 mA,低静态电流,CMOS线性稳压器,采用5引脚TSOT封装 | ADP121-AUJZ12R7 ADP121-AUJZ15R7 ADP121-AUJZ18R7 ADP121-AUJZ25R7 ADP121-AUJZ28R7 ADP121-AUJZ30R7 ADP121-AUJZ33R7 | 
| adp2108 | 紧凑型、600mA、3MHz、降压型DC-DC转换器 | ADP2108ACBZ-1.0-R7 ADP2108ACBZ-1.2-R7 ADP2108ACBZ-1.5-R7 ADP2108ACBZ-1.8-R7 ADP2108ACBZ-2.5-R7 ADP2108ACBZ-3.0-R7 ADP2108ACBZ-3.3-R7 ADP2108AUJZ-1.0-R7 ADP2108AUJZ-1.2-R7 ADP2108AUJZ-1.3-R7 ADP2108AUJZ-1.5-R7 ADP2108AUJZ-1.8-R7 ADP2108AUJZ-2.5-R7 ADP2108AUJZ-3.0-R7 ADP2108AUJZ-3.3-R7 | 
| ADP1613 | 650 kHz /1.3 MHz升压PWM DC-DC开关转换器,电流限值为2.0 A | ADP1613ARMZ-R7 | 
| ADP2114 | 双通道2 A/单通道4 A、可配置同步降压DC-DC稳压器 | ADP2114ACPZ-R7 | 
| ADP1872 | 采用同步电流模式、恒定导通时间的PWM降压控制器 | ADP1872ARMZ-0.6-R7 | 
| ADP151 | 超低噪声、200 mA CMOS线性调节器 | ADP151ACBZ-1.1-R7 ADP151ACBZ-1.2-R7 ADP151ACBZ-1.8-R7 ADP151ACBZ-2.75-R7 ADP151ACBZ-2.8-R7 ADP151ACBZ-3.0-R7 ADP151ACBZ-3.3-R7 ADP151ACPZ-1.5-R7 ADP151ACPZ-1.8-R7 ADP151ACPZ-2.5-R7 ADP151ACPZ-2.7-R7 ADP151ACPZ-2.8-R7 ADP151ACPZ-3.3-R7 ADP151AUJZ-1.2-R7 ADP151AUJZ-1.5-R7 ADP151AUJZ-1.8-R7 ADP151AUJZ-2.5-R7 ADP151AUJZ-2.9-R7 ADP151AUJZ-3.0-R7 ADP151AUJZ-3.3-R7 ADP151TUJZ3.3-EPR2 | 
| ADP2300 | 1.2 A、20 V、700 KHZ异步降压开关调节器 | ADP2300AUJZ-R7 | 
| ADP2301 | 1.2 A、20 V、1.4 MHZ异步降压开关调节器 | ADP2301AUJZ-R7 | 
| ADM1170 | 1.6 V至16.5 V热插拔控制器 | ADM1170-1AUJZ-RL7 ADM1170-2AUJZ-RL7 | 
| AD628 | 高共模电压、可编程增益差动放大器 | AD628ARMZ AD628ARZ | 
| ADCMP350 | 内置0.6 V基准电压源、开漏低电平有效输出比较器,采用4-SC70封装 | ADCMP350YKSZ-REEL7 | 
- 加入我的myAnalog 登录 myAnalog





